Hệ thống mua sắm Bếp Linh Hỗ trợ: cuonggoviet@gmail.com Tư vấn: 0905666396
Thông báo của tôi0

RUỘT KHÓA HAFELE 916.63.099 5 CHÌA

446.490₫ 496.100₫ Còn hàng
Mã: 916.63.099KM: Call để có giá rẻ hơn 0905.666.396
alt

RUỘT KHÓA HAFELE 916.63.099 5 CHÌA

Tên: Ruột khóa phòng ngủ Hafele
Mã Hafele: 916.63.099
Xuất Xứ:  PRC

ĐẶC TÍNH CỦA RUỘT KHÓA HAFELE 916.63.099 5 CHÌA

Ruột khóa phòng ngủ Hafele 916.63.099 thuộc dòng: Startec

+ Hệ chìa chủ theo yêu cầu của khách hàng

+ Hệ thống chìa 5 pin

+ Số lượng chìa phụ thuộc vào số lượng cặp pin và các xếp pin

+ Ruột khóa theo tiêu chuẩn EN1303 và DIN 18 252: 09/1999

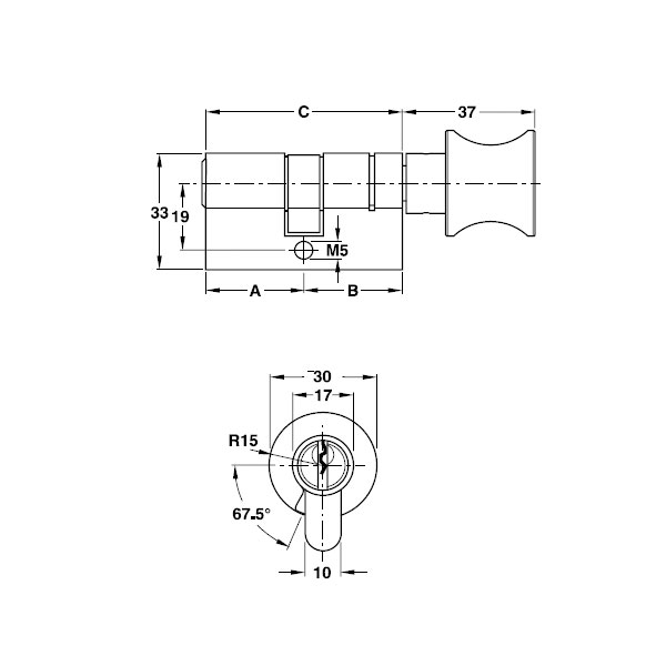
+ Một đầu chìa

+ Một đầu vặn

Ruột khóa phòng ngủ Hafele 916.96.311 phù hợp với phòng ngủ, cửa phòng riêng

THÔNG TIN KỸ THUẬT CỦA RUỘT KHÓA HAFELE 916.63.099 5 CHÌA

+ Chất liệu: Đồng mạ nikel

+ Chiều dài A: 35 mm

+ Chiều dài B: 35 mm

+ Chiều dài C: 70 mm

+ Trộn bộ gồm: 1 ruột khóa một nửa +  Vít cố định ruột khóa + 5 chìa thép mạ nikel

Nội dung tùy chỉnh viết ở đây